Регулировка реле давления воды. Назначение, устройство и принцип работы
- Регулировка реле давления воды. Назначение, устройство и принцип работы
- Регулировка давления воды. Регулировка устройства
- Регулировка реле давления насосной станции. Контроль давления воздуха
- Регулировка автоматики насосной станции. Устройство насосной станции
- Регулировка реле давления РДМ-5. Реле давления РДМ-5 — инструкция по регулировке
- Реле давления воды неисправности. В начале рассмотрим устройство и принцип действия бытовой насосной станции.
- Настройка реле давления с одной пружиной. Настройка и регулировка давления
Регулировка реле давления воды. Назначение, устройство и принцип работы
Реле — это основной элемент для регулировки подачи воды в насосной системе. Благодаря ему осуществляется включение и выключение всей системы насосного оборудования.
Именно этот узел в системе водоснабжения отвечает за напор воды. Благодаря реле, происходит баланс между большой ее подачей и слабой.
Реле устроено на принципе размыкания контактной группы при изменении напора воды. Оно непосредственно соединяется с насосом с помощью выходных контактов. На схеме, представленной ниже, показаны основные узлы устройства реле подачи давления воды.
Схема реле давления воды
Два сетевых контакта служат для электрического запуска устройства. С помощью насосной контактной группы срабатывает включение и выключение реле. На верхней части устройства располагаются две гайки. Они предназначены для регулировки подачи давления. Каждая гайка отвечает за силу давления воды в системе. При регулировании реле всегда следует помнить, что отключение устройства должно срабатывать при среднем давлении подачи воды в насосе. Гайка настройки дифференциала регулирует подачу воды между большим и малым давлением.
С помощью реле автоматически регулируется включение и отключение устройства, подающего воду в гидробак. При этом специалисты используют ряд понятий, таких как:
- Давление включения или нижнее давление (Рвкл), при котором контакты реле для погружного или скважинного насоса замыкаются, устройство включается и в бак начинает поступать вода. Стандартные настройки производителя — 1,5 бар.
- Давление выключения или нижнее давление (Рвыкл), при котором контакты устройства размыкаются и насос выключается. Стандартные настройки производителя — 2,5-3 бар.
- Перепад давления (ΔР) — разница предыдущих двух показателей.
- Максимально допустимый показатель выключения, при котором насосная станция может быть отключена. Стандартные настройки производителя — 5 бар.
Гидроаккумулятор же представляет собой бак, в который встроена дополнительная резиновая ёмкость, именуемая «грушей». В эту «грушу» через самый обычный автомобильный ниппель накачивают некоторое количество воздуха. Чем выше давление в «груше», тем сильнее она давит на скопившуюся в баке воду, выталкивая её в водопроводную систему. Таким образом обеспечивается напор воды, достаточный для комфортного использования.
Несколько иначе устроены мембранные гидроаккумуляторы, однако их принцип работы примерно такой же. Бак разделяют на две части специальной мембраной, по одну сторону которой находится вода, по другую — воздух, который давит на воду и т. д.
Регулировка давления воды. Регулировка устройства
Многие хозяева задаются вопросом, как отрегулировать регулятор давления воды в квартире. Эту задачу можно легко выполнить своими руками. Большинство устройств выпускаются с предустановленной настройкой. Согласно этому давление в них составляет 3 бар. Но, при необходимости можно снизить или увеличить этот параметр самостоятельно.
Редуктор давления воды в разобранном виде
Для выполнения настройки может понадобиться гаечный ключ или широкая отвертка. Выбор инструмента зависит от модели редуктора. Конечно, в современных устройствах настройка выполняется вручную без использования каких-либо дополнительных инструментов.
Прежде всего, нужно убедиться в том, что редуктор давления воды в водопроводе надежно установлен. После проведения установки устройства открывают подачу воды. На этом этапе нужно проверить систему на наличие протечек. Чтобы предотвратить возникновение таких проблем, при монтаже редуктора стоит использовать уплотнительный материал.
Регулировка редуктора давления воды в квартире осуществляется при закрытых кранах. В нижней части устройства есть установочная головка, которая и отвечает за регулировку напора жидкости в трубопроводе. Если давление нужно увеличить, то головка вращается по часовой стрелке. В ином случае вращающие движения выполняется против часовой стрелки.
Одно полное вращение головки позволяет изменить давление на 0,5 бар. Это будет заметно по движению стрелки. Таким образом, выполняется регулировка регулятора давления воды в квартире. Работу можно легко выполнить своими руками.
Регулировка редуктора давления Валтек
Винт регулирови находится под крышкой 9 . Вращая винт 8 добавляете давление в редукторе
Редуктор работает следующим образом: рабочая среда, попадая во входную камеру, с одинаковой силой воздействует на золотник и на нижнюю поверхность поршня. Сила упругости пружины поддерживает редуктор в открытом положении до тех пор, пока давление среды в выходной камере, воздействующее на верхнюю «тарелку» поршня не сравняется с настроечным. В этот момент золотник начинает перекрывать отверстие между камерами, увеличивая местное сопротивление и снижая выходное давление до заданного уровня. С помощью латунной настроечной гайки (8) редуктор может быть настроен на требуемое выходное давление, отличное от заводской настройки (2 бара).
Примечание : часто причиной слабого давления может служить засор механизма.
Регулировка реле давления насосной станции. Контроль давления воздуха
Хоть производитель и проводит регулировку всех элементов насосной станции еще на этапе производства, перепроверять давление нужно даже в новом оборудовании, так как на момент продажи оно может несколько снизиться. Устройство, которое эксплуатируется, осматривают до двух раз за год.
Для измерений используют как можно более точный манометр, ведь даже небольшая погрешность в 0,5 бар может повлиять на работу оборудования. Если есть возможность воспользоваться автомобильным манометром, со шкалой, с наименьшей градуировкой — это обеспечит более достоверные результаты.
Показатель давления воздуха в мембранном баке должен соответствовать 0,9-кратному давлению включения насосной станции (выставляется с помощью реле). Для баков с различным объемом показатель может составлять от одного до двух бар. Регулировку осуществляют через ниппель, накачивая или стравливая лишний воздух.
Для нормальной работы станцию оснащают обязательными контрольно-регулирующими приборами:
Чем меньше воздуха закачано в систему, тем больше воды она способна аккумулировать. Напор воды будет сильным при наполненном баке, и все более ослабляться при заборе воды.
Если такие перепады являются комфортными для потребителя, то можно оставить давление на наименьшем допустимом уровне, но не меньше 1 бар. Меньшее значение может привести к трению наполненной водой груши об стенки бака и ее повреждению.
Чтобы установить всильный напор воды, необходимо зафиксировать давление воздуха в пределах около 1,5 бар. Так, разница напора при наполненном и пустом баке будет менее ощутимой, обеспечивая ровный и сильный поток воды.
Регулировка автоматики насосной станции. Устройство насосной станции
Чтобы правильно отрегулировать данное насосное оборудование, необходимо иметь хотя бы минимальное представление о том, как оно устроено и по какому принципу работает. Главное предназначение насосных станций, состоящих из нескольких модулей – это обеспечение питьевой водой всех точек водозабора в доме. Также данным агрегатам под силу автоматически повышать и поддерживать давление в системе на необходимом уровне.
Ниже приведена схема насосной станции с гидроаккумулятором.
В состав насосной станции входят следующие элементы (см. рисунок выше).
- Гидроаккумулятор. Выполнен в виде герметичного бака, внутри которого находится эластичная мембрана. В некоторых емкостях вместо мембраны установлена резиновая груша. Благодаря мембране (груше) гидробак делится на 2 отсека: для воздуха и для воды. Последняя закачивается в грушу или в часть бака, предназначенную для жидкости. Подключение гидроаккумулятора происходит на отрезке между насосом и трубой, ведущей к точкам водозабора.
- Насос. Может быть поверхностным или скважинным. Тип насоса должен быть либо центробежным, либо вихревым. Вибрационный насос для станции использовать нельзя.
- Реле давления. Датчик давления автоматизирует весь процесс, при котором вода подается из скважины в расширительный бак. Реле отвечает за включение и выключение двигателя насоса при достижении в баке необходимой силы сжатия.
- Обратный клапан. Препятствует вытеканию жидкости из гидроаккумулятора при отключении насоса.
- Электропитание. Чтобы подключить оборудование к электрической сети, для него требуется протянуть отдельную проводку с сечением, соответствующим мощности агрегата. Также в электрической цепи должна быть установлена система защиты в виде автоматов.
Регулировка реле давления РДМ-5. Реле давления РДМ-5 — инструкция по регулировке
Принцип работы реле состоит в автоматическом понижении давления воды в трубопроводной системе, когда данный показатель достигает опасной величины.
В случае нормального показателя давления, внутренние контакты прибора остаются в первоначальном положении, не препятствуя свободному току воды. Но, как только данный показатель начинает зашкаливать, контактные пластины, под напором потока, размыкаются и водоподающий насос, соединённый с реле, выключается.

Базовая настройка датчика срабатывания производится в заводских условиях, и на рынок прибор поставляется уже в готовом для установки виде. Однако, инструкция по регулировке реле давления РДМ предусматривает самостоятельную установку показателей, в зависимости от нужд потребителя.
Прежде всего, водопровод должен снабжаться манометром — в соответствии с его показаниями и будет осуществляться настройка. Работа по регулировке прибора производится следующим образом:
- Подключаем РДМ к системе, в точном соответствии с эксплуатационной инструкцией.
- Гидроаккумулятор к системе не подключается, а отвод, ведущий к нему, глушится.
- Насос включается в сеть, и производится проверка работы прибора при заводских настройках. Одновременно можно убедиться в герметичности трубопровода до места установки реле. Показания сетевого манометра следует стабилизировать на цифре 3 атмосферы.
- Далее вскрываем крышку РДМ, под которой располагаются две гайки с пружинами — одна больше, другая поменьше. Если вращать большую гайку по часовой стрелке, произойдёт сжатие пружины. Таким образом, верхний предел срабатывания датчика будет повышен, а при вращении в обратном направлении — этот предел понижается.
- При помощи вращения подпружиненной большой гайки выставляется необходимый показатель верхнего предела, допустим 2,9 атм. Нижний показатель оставляем в заводском варианте — 1 атм.
- Затем подключаем к внутридомовой системе гидробак и при помощи имеющегося на нём отдельного манометра проверяем давление внутри него. Средний показатель для гидроаккумуляторов составляет порядка 1,5 атмосферы.
- Подключаем гидробак к прибору РДМ, запускаем насос и наблюдаем, при каком показателе внутрисетевого давления датчик отключит работу насосного оборудования. Согласно выставленным настройкам (1 атм. — нижний, а 2,9 — верхний предел), рабочий диапазон давления составляет у нас 1,9 атмосферы, что на 0,4 атм. больше рабочего давления в гидробаке.
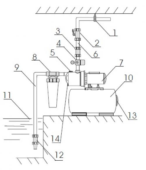
Реле давления воды неисправности. В начале рассмотрим устройство и принцип действия бытовой насосной станции.

Условные обозначения на рис. 1-опора напорной магистрали, 2-кран, 3-обратный клапан, 4-реле давления, 5-отверстие для залива воды (у Silverjet отсутствует), 6-напорная магистраль, 7-насос, 8- магистральный фильтр, 9-всасывающая магистраль, 10-гидроаккумулирующий бак, 11-вода, 12- обратный клапан с сеточкой, 13-крышка, закрывающая ниппель, 14-отверстие для слива воды.
Поверхностный центробежный электронасос состоит из однофазного асинхронного двигателя и насосной части. Электродвигатель состоит из оребренного корпуса, статора, ротора, конденсаторной коробки и закрытого защитным кожухом вентилятора. Для защиты двигателя от перегрева в обмотку его статора встроено тепловое реле. Насосная часть состоит из корпуса, рабочего колеса и встроенного эжектора. Корпус насосной части, в
зависимости от модели насосной станции выполнен из чугуна, стекло-полипропилена или нержавеющей стали. Гидроаккумулятор состоит из стального резервуара и сменной мембраны из пищевого этилен-пропиленового
каучука. Гидроаккумулятор имеет ниппель для закачки в него воздуха под избыточным давлением. Манометр служит для визуального контроля давления в системе водоснабжения, а реле давления определяет верхний и нижний уровень давления, при достижении которых отключается и включается насос.
Соединение насосной станции с сетью питания осуществляется посредством кабеля со штепсельной вилкой, имеющей заземляющий контакт, и розетки с заземляющим контактом. После установки и включения насосной станции вода заполняет гидроаккумулятор и водопроводную систему. При достижении давления воды в системе верхнего предела настройки реле давления, электронасос отключается. При открытии водоразборного крана, в первый момент времени вода расходуется из гидроаккумулятора. По мере расхода воды давление в системе падает до нижнего предела настройки реле давления, после чего вновь включается электронасос. Вода поступает к потребителю и одновременно заполняет гидроаккумулятор. При достижении давления воды верхнего предела реле давления, электронасос снова отключится. Циклы включения и выключения насоса повторяются до тех пор, пока осуществляется разбор воды из системы.
Для корректной работы насосной станции необходимо на всасывающей магистрали использовать обратный клапан с сетчатым фильтром грубой очистки воды.
Настройка реле давления с одной пружиной. Настройка и регулировка давления
Для самостоятельного выполнения настройки рассматриваемого реле особыми познаниями в сантехническом деле обладать не требуется. Это разбираться, как обшить дом сайдингом либо по правилам смонтировать SIP панели , придется достаточно долго. Там нюансов работ гораздо больше. С регулировкой реле давления насосной станции все сильно проще. Надо лишь последовательно произвести пять действий.
Для настройки реле водяного давления необходимо:
Обесточить насос, а потом слить воду из трубопровода ХВС.
Включить гидронасос и записать показания манометра, когда выключится реле (это значение нижнего порога, устанавливаемого большой пружиной).
Открыть самый дальний от насосной станции кран водопровода и отследить цифры на манометре, когда насос вновь включится (это верхний порог, регулируемый маленькой пружиной).
Если напор в открытом кране при пуске гидронасоса был слишком мал, то надо увеличить давление отключения, прикрутив на большой пружине гайку. При излишне сильном напоре ее следует наоборот немного ослабить.
С помощью малой пружины уставляется дельта между верхним и нижним порогами в пределах 1,5–2 атмосфер.

Замеряем показатели манометра и регулируем гайками реле
Для завершения регулировки реле давления вновь полностью спускается вода из системы, а затем станция включается в сеть. Если все настроено правильно, то напор в кранах должен быть удовлетворительным. Все предельно просто. Это выбор стройматериала для дома и планировка участка 15 соток прямоугольной формы займут много времени. Настройка реле давления производится буквально за полчаса.