Устройство гидрострелки для отопления в разрезе. Устройство гидравлического разделителя
Устройство гидрострелки для отопления в разрезе. Устройство гидравлического разделителя
(или по-другому гидравлический разделитель, анулоид, термостатический разделитель) представляет собой полый сосуд круглого или прямоугольного сечения с приваренными по бокам патрубками входа и выхода воды с резьбовым или фланцевым соединением.
Если смотреть на устройство в разрезе, то внутри прибора ничего нет. Однако, в зависимости от производителя такой разделитель может комплектоваться дополнительно фильтрами воды, воздухоотводчиком, температурным датчиком, разделительными пластинами и грязевиками.
Как правило, гидрострелки изготавливаются из черной или нержавеющей стали. Однако стоит понимать, изделия из нержавеющей стали при работе в закрытой системе отопления технически не играют никакой роли, и имеют только визуально более привлекательный вид. Со всеми задачами справляется и обычный анулоид из чёрной стали, который прослужит не меньше аналога из нержавейки, а сэкономленные средства можно потратить на другое оснащение котельной. Габариты устройства и количество патрубков зависят от мощности отопительного котла, количества контуров и их объема.
Обратите внимание! В паспорте гидрострелки всегда указывается предельно допустимая мощность отопительного оборудования, которую способен выдержать разделитель. Устройства, которые предназначены для совместной работы с мощностными теплогенераторами, от 100 кВт и выше, имеют надежное фланцевое соединение.
Рекомендуется устанавливать гидравлический разделитель перпендикулярно полу для эффективного отвода накапливаемого воздуха и оседания шлама.
Гидрострелка в разрезе. Принцип работы гидрострелки для отопления
Гидрострелка – это дополнительное устройство для системы отопления, которое занимается ее балансировкой и защитой. Принцип функционирования заключается в разделении гидравлических потоков, поэтому ее еще называют «гидравлический разделитель».
Корректное использование гидравлической стрелки позволяет согласовать работу всех элементов отопительной системы, повысить КПД насоса с котлом, что способствует улучшению энергоэффективности и значительно понижает расходные ресурсы (электроэнергию, топливо). Главное предназначение устройства в обеспечении экономичной и четкой работы котла.

Устройство и принцип работы
Гидрострелка представляет собой контейнер с несколькими патрубками, а также внутренними элементами. Число патрубков может быть от 4 и больше (зависит от количества контуров отопительной системы). Их местоположение определяют путем расчетов под конкретную систему.
От величины системы присоединение патрубков к контуру бывает:
- резьбовым – используется для маленьких систем;
- фланцевым – для больших.
Размеры устройства напрямую зависят от объемов контура и его мощности. Монтаж проводится на опорные стойки для металлических корпусов, и с помощью кронштейнов – для небольших размеров.
В качестве материала используется медь, полипропилен или нержавеющая сталь. Корпус обязательно должен быть обработан антикоррозийным средством.
Важно! Полимерные изделия можно использовать в системах с котлом мощностью от 14 до 35 кВт. Самостоятельно смонтировать подобный прибор крайне сложно.
Кроме стандартных функций, устройство может быть изготовлено с рядом дополнительных, а именно:
- Деаэрация – способствует устранению газов в воде, которые возникают из-за ее нагревания. Для выполнения этой функции внутри устройства устанавливают сепарирующую пластину, а ее стенки притягивают к себе газовые частицы. Вывод накопленного воздуха может быть автоматическим или же требовать ручного вмешательства.
- Магнитная обработка жидкости – скапливает металлические частицы и окалины. Для этого внутрь корпуса монтируют магнитные стержни, оборудованные специальными магнитами, состоящими из сплавов бора, железа, неодима.
- Фильтрация – устраняет и отводит из обратной воды мусор (шлам, отложения, инородные частицы). Выполняется этот процесс за счет барьерных пластин, которые устанавливают внизу корпуса.
Они способствуют улучшению работы и снижают расходы на приобретение лишних устройств, таких как: грязевики, воздухосборники или шламоотводители.
Комплектация и характерные отличия гидрострелок
Комплект разделителя зависит от внутреннего наполнения и численности контуров, на которые он рассчитан. Обязательный элемент – автоматический отводитель для воздуха 1/2, оборудованный обратным клапаном либо шаровым краном. Для установок на заказ в комплектацию входит съемная теплоизоляция.
В гидрострелках типа ГС вмонтированы элементы для устранения воздуха и шлама. В МГС (многофункциональные гидрострелки) комплекте есть магнитные стержни и возможность регулировать опору по высоте в пределах 10 см. Устройства типа ГС, МГС, flexbalance и maibes можно использовать для двухконтурных систем, но возможна их докомплектация коллектором.

Принцип работы
Существует три возможных варианта работы:
- Расход теплоносителя за единицу времени через котел (Q1) равен его расходу через систему отопления (Q2). Производительность при этом: Q1=Q2. Температура воды на выходе из котла и на входе в контур одинаковая. В гидрострелке отсутствует вертикальное направление потока, но на практике такое бывает крайне редко. Конструкция при этом имеет достаточный уровень суммарной мощности.
- Производительность котла намного выше, чем требуемая для системы отопления: Q1>Q2. В этом случае внутри гидрострелки образуется вертикальный поток воды сверху вниз, его часть переходит в линию обратки. Температура жидкости на входе в котел увеличивается, и автоматическая система начинает понижать подачу топлива, что переводит систему в экономный режим функционирования. Подобная схема характерна для летнего периода, когда не требуется отопление, а котел работает исключительно в режиме горячего водоснабжения (ГВС).
- Производительности котла недостаточно для системы отопления: Q1
Схема работы
Гидроразделить функционирует по следующей схеме:
- Поток воды от котла попадает в гидрострелку , где меняет свое направления и снижает скорость.
- В результате изменений выделяется воздух, который постепенно накапливается вверху корпуса. Воздух периодически отводится.
- Затем поток направляется согласно одной из вышеописанных схем, по контуру потребителя.
- Охлажденная вода возвращается в гидрострелку и проходит сквозь разделительные перегородки, где очищается от шлама.
- Шлам накапливается снизу корпуса и периодически отводится.
- Очищенная вода обратно попадает в котел.

Обвязка двух котлов, работающих в каскаде
Преимущества использования
Применение устройства в системе отопления имеет ряд преимуществ:
- Гидрострелка требуется для получения гарантии о выполнении технических характеристик.
- С ее помощью поддерживается температурный режим и гидравлический баланс в системе.
- Выравнивается циркуляция во всех контурах.
- Происходит защита котла от тепловых ударов.
- Снижает расходы на топливо и электроэнергию.
- Понижает уровень гидравлического сопротивления.
- Есть возможность подключить дополнительные компоненты ( расширительный бак , отводчик воздуха и т.д.).
Виды разделителей
Классификация разделителей:
- В зависимости от объема:
- большие – 200-300 л.;
- средние – от 20 до 150 л.;
- маленькие – меньше 20 л.
- В зависимости от числа контуров:
- двухконтурный;
- многоконтурные.
- В зависимости от формы сечения:
- круглые;
- квадратные.
- В зависимости от расположения:
- горизонтальные;
- под углом;
- вертикальные.
- В зависимости от положения патрубков:
- параллельные (на одной оси);
- чередующиеся (на разных осях).

Подбор гидрострелки
Главным пунктом при выборе гидрострелки выступает диаметр, поскольку высота особой роли не играет. Чем больше объем устройства, тем качественнее и лучше происходит выравнивание температурного режима, что особо востребовано для котлов с твердым топливом (уголь, паллеты, дрова).
Выбирая подходящую модель необходимо учитывать, сколько контуров будет к ней подключено. Чтобы узнать оптимальный вариант, следует определить мощность контура, а также объем теплоносителя. Для этого проводится гидротехнический расчет.
Расчет
Вычисления следует проводить исходя из максимального значения потока воды и уровня ее скорости в гидроразделителе и трубках.
Произвести расчет можно с помощью двух способов:
Используя значение максимально потока воды.
Гидрострелка чертеж. Гидрострелка для отопления: изготовление и применение в системе
Гидрострелка пригодится в сложной системе отопления с насосами в контурах. Без нее они будут оказывать влияние друг на друга, и давление в точках подключения к главной магистрали окажется не постоянным, система станет малопригодной для жильцов. Чтобы нормализовать работу сложной системы применяется гидрострелка. Как ее сделать самостоятельно и как установить – вот основное, что нужно при создании отопления в доме.

Как работает гидрострелка
Гидрострелка представляет из себя отрезок трубы большого диаметра с подключениями для трубопроводов. Это простое решение по выравниванию давления для всех потребителей от котла. К гидроразделителю можно подключить множество контуров для всех их давление в точке подключения окажется приблизительно одинаковым и заметное взаимное влияние исчезнет. Развязка всей системы достигается всего лишь применением куска полой трубы, к которой с одной стороны подключен котел (подача и обратка), а на противоположные патрубки, которых может быть много – контура системы отопления со своими насосами.

Нужен ли в системе отопления гидроразделитель
Но далеко не во всех домах нужен подобный монтаж. Если система минималистично – классическая, в ней присутствует радиаторная ветвь, с подключением параллельно теплых полов со своим насосом, и бойлера ГВС, то гидрострелка не нужна вовсе. Но включение одновременно в работу еще одного контура со своим насосом, например, вспомогательного котла, оранжереи, гаража, подогрева бассейна, ( как подогреть бассейн на улице ) уже потребует выравнивания давления для всех потребителей от котла — потребуется гидроразделитель.
Наглядный пример эксплуатации
Жидкость в самой гидрострелке всегда будет двигаться в каком то направлении или сверху вниз или наоборот. Это зависит от того где больше расход (производительность насоса) – в контуре котла или в других контурах.
- Ситуация которой не бывает на практике – жидкость в гидрострелке не движется – подача из котла вся разбирается потребителями. Обратка от потребителей – вся в котел.

- Требуемый режим работы гидрострелки – насос котла сильнее, его подача частично уходит на обратку.

- Недопустимый режим – потребители захватывают свою обратку (жидкость движется вверх), система остывает, котел перегревается.

- Аварийный режим – котел работает сам на себя через гидрострелку.

Как узнать диаметр и другие размеры гидрострелки
Никаких секретов с расчетом гидрострелки нет, все просто, жидкость в ней не должна двигаться слишком быстро. Это, достигается не только примерным равенством расходов в контуре котла и потребителей, но и увеличением диаметра самой гидрострелки. Чтобы узнать диаметр трубы гидроразделителя можно «побарахтаться» с формулами s = W / 3600 ʋ, где: s – площадь сечения трубы, м2; W – расход теплоносителя, м3/ч; ʋ — скорость движения жидкости, принимается 0.1 м/с. Тогда диаметр трубы будет равен d = √ 4s/π.
Но проще — взглянуть на фирменный образец в магазине под определенную мощность котла, и скопировать его в домашних условиях.
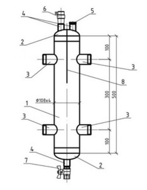
Оказывается, что конструкции примерно одинаковые, и если диаметр подключаемых трубопроводов 1 дюйм, то рекомендуемый диаметр самой гидрострелки – около 3 дюймов (не менее 3 диаметров подключений) – 70 – 90 мм. А рекомендуемое размещение патрубков и конструкция гидрострелки показана на рисунке. При этом запас по мощности — до 75 кВт.

Примеры размеров для изготовления
Диаметр и высота гидрострелка на 50 кВт из круглой трубы — диаметр и высота.

Гидроразделитель из квадратной трубы для систем мощностью до 75 кВт, приведены размеры
Размеры для изготовления гидрострелки в мощные системы до 100 кВт

Дополнительные полезные функции
Гидрострелка выступает к тому же неплохим сепаратором, вверху у нее будет скапливаться выделяемый при резком замедлении движения жидкости (росте давления) воздух, а внизу будет оседать шлам. Поэтому вверху оборудуется автоматический воздухоотводчик, внизу – промывной краник.
Как изготовить в домашних условиях из полипропилена
Сейчас на рынке предлагаются относительно дешевые гидрострелки из полипропилена. Почему бы подобное не сделать самостоятельно, ведь полипропилен легко сварить дешевым паяльником. Правда понадобится насадка под трубу диаметром 75 мм (внутренний диаметр 61,2) или 90 мм и сама труба из полипропилена и тройники к ней.