Станок фрезерный по дереву своими руками. Фрезерный станок по дереву своими руками: особенности изготовления и подключения
- Станок фрезерный по дереву своими руками. Фрезерный станок по дереву своими руками: особенности изготовления и подключения
- Самодельный фрезерный станок по дереву с насадными фрезами. Назначение деревообрабатывающих станков
- Фрезерный станок по дереву своими руками из стиральной машины. Как сделать фрезер, рейсмус и фуганок
- Ручной фрезерный станок по дереву своими руками. Фрезерный станок своими руками: специфичность конструкции
- Вертикальный фрезерный станок по дереву своими руками. Принцип работы фрезерных станков по дереву
- Фрезерный станок по дереву ручной. Функциональные возможности и сферы применения
Станок фрезерный по дереву своими руками. Фрезерный станок по дереву своими руками: особенности изготовления и подключения
В сегодняшнем обзоре редакции Homius мы расскажем о том, как в бытовых условиях сделать фрезерный станок по дереву самостоятельно, чтобы выполнять основные операции с изделиями. Отличием подобных станков станет многофункциональность, которая даст возможность обрабатывать металлические, деревянные и другие заготовки. Чтобы знать, как сделать фрезерный станок по дереву своими руками, следует ознакомиться с общими рекомендациями.

Фрезерный станок по дереву своими руками
ФОТО: remoo.ru
Фрезерный станок по дереву своими руками
Имея представление о всех достоинствах рассматриваемого приспособления, большинство домашних специалистов задают вопрос: «Как изготовить фрезерный станок, имея под рукой лишь доступные бюджетные запчасти?» Нужно тут же отметить, что создать подобное изделие не так сложно, как может показаться. Кроме того, можно наделить его опциями, присущими как фрезерному, так и токарному агрегату .

Самостоятельное создание фрезерного станка по древесине
Принцип функционирования
Фрезерные станки идеальны для точной обработки древесины . Технология будет схожа с работой скульптора, который отсекает ненужные части детали. В такой ситуации главные функции будет выполнять фреза.

Инструмент с заострёнными гранями будет вращаться на больших скоростях, что ускорит проведение операций
ФОТО: promzn.ru
Устройство приводится в действие с помощью электродвигателя. Чтобы обеспечить требуемую точность движений, используются специальные механические приспособления.
Копировально-фрезерный станок по дереву своими руками
Большое количество деталей,, прочих изделий нуждаются в фигурном высокоточном и аккуратном исполнении. В то же время, необходимо обеспечивать полную аналогию в целом тираже заготовок. Собственноручно достичь такого эффекта почти невозможно. Для этого используется копировально-фрезерный станок.

Несомненным достоинством такого приспособления станет то, что при простоте устройства, оно выполняет достаточно сложные узорыФОТО: youtube.com
Кроме того, прибор будет незаменимым для сверления отверстий под ряд элементов (под замок и ручки,, прочие работы).
Чтобы все детали, заготовки и изделия получались идентичными, станок по древесине использует в работе шаблоны. Они являются объёмными образцами, выполняемыми из дерева, пластмассы и прочих материалов. Чтобы обеспечить высокоточное проведение работ, используют вакуумное прижимание заготовок и автоподачу шаблона.

Самодельный фрезерный станок по дереву с насадными фрезами. Назначение деревообрабатывающих станков
Такие агрегаты по дереву имеют разное назначение. Их могут использовать как для одной операции, так и для нескольких. Такие станки в основном изготавливают на заводе, однако, многие делают их своими руками.
Большинство устройств являются многофункциональными , они способствуют экономии места в мастерской. После небольших манипуляций со станиной агрегата его с лёгкостью можно перепрофилировать для выполнения разнообразных операций.
Профессиональный станок является дорогим удовольствием, поэтому зачастую многие умельцы приступают к его изготовлению своими руками. Используется оно потом чаще всего в небольших мебельных мастерских.
Какими бы профессиональными ни были станки по дереву, но они способны объединить в себе только определённое количество приёмов обработки. Объясняется это тем, что в одних устройствах заготовка является неподвижной, а в других она осуществляет вращательно-поступательные движения.
Самодельный фрезерный станок изготавливают с помощью дрели. На стальной профиль закрепляют шпиндель электрической дрели, в которую зажимают заготовку. С противоположной стороны устанавливают бобину или вращающийся зажим. Обработку осуществляют специальными резцами, которые следует удерживать при помощи рук. Такой способ обеспечивает изготовление простых деталей круглой формы.
Применение фрезерных станков по дереву
Среди разнообразия фрезерных станков немногие используются для деревообработки. Изготавливая мебель, обязательно применяют фрезеровку. Станок по дереву предусмотрен для выполнения следующих операций:
- снятие четверти;
- сверление;
- выемка пазов;
- создание глубины и углублений заданной формы.
К примеру, для установки мебельной фурнитуры требуется углубление точной формы и глубины . Поэтому фрезерование позволяет достичь необходимых параметров очень легко и быстро, а это очень важно при производственных мощностях.
Наиболее удобным и поэтому довольно распространённым считается плоскошлифовальный фрезерный станок . Он легко изготавливается своими руками. Самодельное устройство по дереву позволяет существенно сэкономить финансы при организации домашней мастерской.
Конструкция фрезерного станка
Такое устройство по дереву осуществляет обработку детали при помощи фрезера, совершающего вращательные движения. Заготовку или жёстко закрепляют, или подают на фрезер с необходимой траекторией.
Фрезер представляет собой стальной режущий инструмент цилиндрической формы , очень похожий на сверло. Однако в отличие от него, у фрезера режущие кромки имеет все тело. Благодаря этому можно удалять дерево одновременно в нескольких плоскостях. Управлять фрезером можно в автоматическом, ручном и полуавтоматическом режиме.
Фрезерный станок состоит из следующих деталей:
- Столешница.
- Параллельный упор.
- Пылесос, который используется для удаления стружки.
- Станина.
- Шпиндель.
- Подающая салазка.
Фрезерный станок по дереву своими руками из стиральной машины. Как сделать фрезер, рейсмус и фуганок
Фрезер является незаменимым инструментом при проведении всевозможных работ по дереву и активно используется профессионалами. Но если он нужен домашнему мастеру для проведения разовых работ, то есть смысл попробовать сделать его своими руками из подручных инструментов. Конечно же, самодельный фрезер по дереву, изготовленный, например, из дрели или болгарки, не способен полностью заменить стандартный инструмент. Но некоторые несложные операции, не требующие особой чистоты обработки, таким агрегатом выполнять вполне допустимо.
Изготовление фрезера из дрели
Фрезер из дрели своими руками изготавливается легко и быстро, поскольку данный инструмент уже имеет патрон, в который можно зажать хвостовик фрезы. Но поскольку дрель развивает небольшие обороты, около 3000 об/мин, то добиться хорошего качества обработки детали не получится.
Для сравнения: фрезеровальная машина развивает скорость до 30000 об/мин.
В качестве подставки для закрепления дрели идеально подходит приспособление для вертикального сверления , которое можно приобрести в магазине электроинструмента. Потребуется лишь сменить оснастку, и самодельный фрезер готов.
Также подобную подставку можно изготовить из ЛДСП , как показано на следующих рисунках.
К примеру, таким самодельным аппаратом можно не хуже, чем готовым фрезером проделывать паз в плите из ЛДСП под Т-образную кромку из ПВХ.
Как сделать фрезер из болгарки
Не секрет, что угловая шлифовальная машина часто используется для для шлифовки, полировки и фрезеровки различных поверхностей дисковыми и чашечными насадками. Но если на шпиндель агрегата накрутить цангу, то получится фрезер из болгарки, который сможет работать не только с дисковыми фрезами, но и с любой оснасткой, имеющей цилиндрические хвостовики.
Если в цангу зажать фрезу из твердосплавного материала, то получится фрезер по металлу.
Также, чтобы сделать фрезер, на шпиндель болгарки можно закрепить и обычный кулачковый патрон от дрели.
На фото выше показано приспособление для болгарки, превращающее ее в ручную фрезерную машину. Как сделать приспособу, можно понять из этого.
Фрезер из двигателя от стиральной машины
Очень часто народные умельцы изготавливают различные станки из двигателя стиральной машины: токарные по дереву, сверлильные, точильные, циркулярные, а также стационарные фрезерные станки. Чтобы изготовить последний, сначала потребуется смастерить стол способом, описанным выше. Далее, на вал двигателя необходимо установить цангу для зажима фрез.
Поскольку закрепить ее на валу мотора без переходника не получится, то его придется заказать у токаря.
Также потребуется сделать подъемный механизм для удобной регулировки вылета инструмента. Делается он из двух труб, выполняющих роль стоек, на которых закрепляется двигатель, и резьбовой шпильки.
Шпилька одним концом входит в закрепленную к днищу стола гайку, а вторым упирается в нижнюю часть мотора. На шпильке жестко закрепляется поворотное колесо, с помощью которого и осуществляется регулировка высоты.
Чтобы на мотор при работе станка не попадала пыль, можно уложить сверху двигателя небольшой кусок поролона.
ЧПУ фрезер
Агрегат с числовым программным управлением (ЧПУ) применяется, в основном, для гравировки и фигурной резьбы по дереву. Управляется он с помощью компьютера, благодаря чему на заготовках можно вырезать очень сложные узоры с высокой точностью. В Китае можно купить готовые мини-станки с ЧПУ для изготовления сувенирной продукции по цене около 10000 рублей.
Конечно же, можно приобрести все детали для станка и собрать ЧПУ-фрезер собственноручно. Но если посмотреть на стоимость всех комплектующих, то будет намного дешевле приобрести готовое изделие с уже настроенным программным обеспечением.
Рейсмус и фуганок из фрезера
Назначение рейсмуса – это калибровка заготовок из дерева в один размер по толщине.
На базе фрезера также можно сделать некое подобие данного агрегата.
Рейсмус из фрезера своими руками можно изготовить из пары направляющих, закрепленных на ровной поверхности, и площадки, на которой закрепляется фрезерная машина. Деталь, которую нужно выровнять по толщине, закрепляется на столе, под площадкой с агрегатом. На фрезере сначала выставляется нужный вылет оснастки, после чего проводится обработка всей поверхности детали.
Используя фрезеровальную машинку в качестве привода, можно изготовить и мини-фуганок для обработки небольших по размеру заготовок. На рисунке ниже показано, из каких деталей состоит портативный фуговальный станок.
Также можно изготовить стационарный фуганок из фрезера для обработки длинных заготовок. Как это делается, можно узнать из следующего.
Ручной фрезерный станок по дереву своими руками. Фрезерный станок своими руками: специфичность конструкции
Для обработки деталей используются фрезерные станки разной конструкции. Наиболее простые предназначены для выполнения одной или нескольких конкретных операций, а более сложные отличаются универсальностью.
Устройство фрезерного станка по дереву
Основные виды фрезерных станков по дереву, которые можно собрать самостоятельно, показаны на фото.
- Станок для пространственного фрезерования или 3D-фрезер (поз. 1).
- Горизонтальный тип (поз.2).
- Вертикальный тип (поз.3).
- Плоскокопировальный станок или 2D-дупликарвер (поз. 4).
- Станок для пространственного копирования или 3D-дубликарвер (поз.5).
Станки 2D и 3D (позиции 1, 4, 5), в принципе, можно сделать своими руками, но работа на них требует определенных навыков и доступна уже опытным мастерам. Интерес представляют популярные разновидности – горизонтальные и вертикальные фрезеры. Горизонтальный тип подходит для несложных деталей при массовом их производстве. Вертикальный станок более универсален, но подвержен заметной вибрации, что осложняет массовое производство.

Для домашней мастерской, где обычно изготавливаются штучные изделия, вертикальный фрезер одношпинделевого типа считается оптимальным вариантом. По расположению двигателя различаются конструкции с нижним и верхним приводом. Первый вариант является предпочтительным, т. к. проще в изготовлении и обеспечивает большую стабильность в работе.
На фото показаны устройства заводского и самодельного станка с нижним приводом. Важное их отличие – откидной упор 7. В самоделках, которые не оснащаются мощными электродвигателями, он заменяется более простым подъемным элементом. Кроме того, в них применяются переходники с конусом Морзе для насадки стандартного патрона на вал двигателя.
Наиболее важные опорные элементы станка:
- опорная плита (основной гаситель горизонтальной вибрации);
- виброгасящая плата привода;
- упоры гребенчатого типа (гашение вертикальной вибрации детали);
- боковой (статический) упор (направление подачи заготовки и регулировка фрезы);
- пылеулавливатель (пылесос).
Опорную плиту можно совместить с виброгасящей.
Весь станок монтируется на столе. На нем имеются гнезда для установки направляющих линеек. По ним передвигаются салазки со шпинделем, установленном на подпятнике. Привод шпинделя обеспечивается ременной передачей. Для подъема салазок предусматривается коническая зубчатая передача с маховичком.
Устройство фрезерного станка по металлу
Фрезеры для дерева обычно используются для изготовления мебельных деталей, которые могут иметь значительные размеры, а потому для них более подходит нижний привод. Фрезерные станки для металла чаще применяются для обработки небольших зон в металлических заготовках. В этом случае значительно проще изготовить станок с верхним приводом. В качестве основного элемента хорошо подходит электродрель. На фото приведен пример такого станка.

Для него необходима станина и стол повышенной прочности, т. к. заготовки могут иметь значительный вес. Деталь надежно фиксируется в зажимном устройстве. На опорной плите размещаются направляющие полозья, по которым устройство перемещается по столу в продольном направлении. Предусматривается и поперечное перемещение заготовки. Таким образом, режущий инструмент перемещается только в вертикальном направлении, определяя глубину обработки. Заготовка передвигается в 2 направлениях, что позволяет регулировать обрабатываемую площадь.
Вертикальный фрезерный станок по дереву своими руками. Принцип работы фрезерных станков по дереву
Оборудование этой категории предназначено для создания изделий из дерева. Технология напоминает работу скульптора, отсекающего лишние части бесформенной заготовки. В данном случае основные функции выполняет фреза. Этот инструмент с острыми гранями вращается на большой скорости, что ускоряет выполнение рабочих операций. Его приводят в действие электрическим двигателем. Для обеспечения необходимой точности движения применяют специализированные механические устройства.
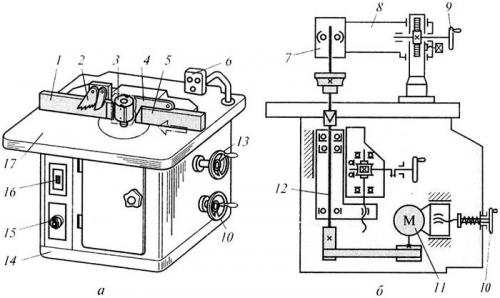
Принципиальная схема и кинематика
На чертеже изображена конструкция станка профессиональной категории. Этот пример подойдёт для изучения типовых функциональных компонентов:
- Чтобы ручное перемещение заготовок было точным, применяют специальные линейки (1, 5) и многопозиционный сектор (2) с зубцами. Эти детали закреплены на столе (17).
- Ограничитель (4) предотвращает попадание в рабочую зону посторонних предметов.
- На расстоянии удобного доступа помещают пульт (6). Сюда выносят аварийный выключатель питания, другие элементы управления.
- Фреза (3) установлена на шпинделе (12). Он укреплён дополнительной верхней опорой (7), которая вставлена в кронштейн (8). Для подъёма этого узла есть специальный маховик (9).
- Рукояткой (10) с винтовым приводом регулируют натяжение ременной передачи.
- Электромотор (11) размещён в нижней части. Массивная станина обеспечивает устойчивость во всех рабочих режимах.
- Отдельным маховиком (13) изменяют высоту шпинделя. Переключателем (15) устанавливают его частоту вращения.
- На боковой стенке установлен главный выключатель (16).
Такая конструкция рассчитана на сильные нагрузки. Она подходит для создания металлообрабатывающего оборудования. В данной публикации речь идёт о фрезерных станках по дереву, поэтому допустимо применение менее прочного силового каркаса, электроприводов сравнительно небольшой мощности.
Фреза установлена в шпиндель по направлению вверх, привод – в нижней части корпуса
Такая конструкция с широким и прочным столом хорошо подойдёт для торцевой обработки крупных заготовок. Рабочие операции выполняются вручную, поэтому пригодятся линейки и другие ограничители.
Фрезерный станок вертикальный по дереву (фабричная модель)
В этом варианте обеспечивается более высокая точность обработки с помощью жёсткой фиксации заготовки и встроенных механизмов плавного перемещения.
Фрезеровальный станок по дереву с числовым программным управлением (ЧПУ)
Это наиболее дорогостоящее оборудование с улучшенными техническими характеристиками. Здесь шпиндель для фрезерного станка по дереву перемещается вместе с инструментом по заданной траектории очень точно с применением шаговых двигателей без вмешательства и тщательного контроля со стороны пользователя. Обеспечивается высокая скорость обработки без ущерба качеству. Дополнительным преимуществом является возможность многократного повторения одинаковых технологических процессов.
Копировальный горизонтальный фрезерный станок по дереву
В этой конструкции рабочий узел жёстко соединён с контрольным щупом, который ограничивает его перемещения с учётом формы образца. С применением этого неслишком сложного приспособления можно создавать качественные копии в домашней мастерской.
К сведению! При необходимости можно найти инструкции по созданию токарно-фрезерных самодельных станков по дереву, других модификаций. В любом случае необходимо заранее определить характеристики будущих технологических операций для уточнения параметров подходящего оборудования.
Фрезерный станок по дереву ручной. Функциональные возможности и сферы применения
Если вы планируете приобрести ручной фрезерный станок , в первую очередь задайтесь вопросом о том, зачем нужен фрезер именно вам. Между тем функциональные возможности такого электроинструмента настолько широки, что ему всегда найдется применение в любой мастерской. В частности, при помощи фрезера, укомплектованного соответствующей оснасткой, можно успешно выполнять такие технологические операции, как:
- профилирование прямых и фигурных кромок на обрабатываемом изделии;
- качественная и точная подготовка посадочных мест для дюбелей, дверных замков и петель, навесов и любой другой фурнитуры;
- выборка четверти (фальца);
- шлифовка и полировка;
- сверление и растачивание отверстий, в том числе и фигурных;
- нарезание шипов и создание пазов различной конфигурации (типа «ласточкин хвост», Т-образных, V-образных, микрошипов);
- раскрой заготовок и их резка на отрезки требуемой длины;
- выполнение чернового выравнивания поверхности обрабатываемой заготовки;
- резьба по дереву, для чего ручные фрезеры используются достаточно активно;
- гравировка (узоры фрезером можно нарезать не только на поверхности изделий из дерева, но и на металлических, пластиковых и каменных деталях);
- выполнение канавок как прямого, так и спирального типа на поверхности изделий, имеющих форму тел вращения (балясины и др.);
- создание на поверхности обрабатываемых изделий различных пазов и шлицев.
Выборка паза ручным фрезером
Очевидно, что функциональные возможности, которыми обладает такой универсальный электроинструмент, как фрезер, делают его одинаково полезным и для домашнего мастера, и для профессионала. Если говорить о сферах применения ручного фрезера, то он является практически незаменимым элементом оснащения любой столярной мастерской. Не обходятся без него также строительные и ремонтные бригады. При помощи такого технического устройства делаются украшения для интерьера, а также различные поделки.