Реле давления насосной станции. Необходимость установки реле
- Реле давления насосной станции. Необходимость установки реле
- Реле давления насосной станции электронное. Механические или электронные реле
- Неисправности реле давления насосной станции. Основные неисправности и рекомендации по их устранению
- Реле давления насосной станции инструкция. Реле давления воды: регулировка и установка своими руками
- Реле давления насосной станции не включается. Ремонт насосной станции своими руками
- Как разобрать реле давления насосной станции. Как разобрать и почистить реле давления РДМ-5
Реле давления насосной станции. Необходимость установки реле
Комплектация насосных станций, предлагаемых сегодня потребителю, включает блок автоматики, основным узлом которого считается реле давления. Без него нормальное функционирование всей системы невозможно. Те же, кто обладает определенными знаниями и навыками прокладки водопровода, могут оснастить систему автоматикой своими руками. Режимы работы насосного оборудования имеют большое значение. От этого зависят:
- потребление электричества;
- поддержание постоянного давления в трубах;
- долговечность всего оборудования.
Стандартная схема организации индивидуального водоснабжения предусматривает функционирование блока автоматики в паре с мембранным блоком — гидроаккумулятором.

Гидроаккумуляторы
Этот резервуар (его объем, как правило, находится в диапазоне 20…100 л) нужен для:
- компенсации гидроударов, способных вывести из строя узлы оборудования, снабжающего водой;
- создания давления в системе и резервного количества жидкости, требуемого для нивелирования пиков ее потребления.
Предназначение реле — чередование работы насоса и гидроаккумулятора. Оно производит соединение или разъединение контактов электрического привода, когда давление доходит до пороговых значений. Использование реле помогает ограничить количество запусков электромотора, что продлевает ресурс всего достаточно дорогостоящего оборудования и значительно снижает энергопотребление.

Устройство реле давления
Закрепляется реле, которое выглядит как миниатюрная коробка, на выходном патрубке. Оно работает так: при падении в системе давления ниже определенного уровня включается водозабор, а после того, как по мере заполнения резервуара гидроаккумулятора давление достигнет установленного значения, привод насоса отключается. Запаса жидкости в емкости хватает для того, чтобы умыться, а также налить стакан воды. При этом нет нужды каждый раз включать насосный агрегат.

Реле давления насосной станции электронное. Механические или электронные реле
Реле давления воды для насоса бывают двух разновидностей: механические и электронные. Механические модели намного дешевле, поэтому предпочтение, как правило, отдается именно им, а электронные с удобной автоматикой, хоть и проще в процессе эксплуатации, но менее популярны.
При риске опустошения источника воды в процессе перекачки жидкости, механическое реле давления просто дополняется блоком автоматики. Однако есть и стрелочные приборы, которые применяются исключительно с насосом. Они сокращают количество включений оборудования и прекращают работу насоса, если поток воды остановился. Своевременное отключение оборудование защищает мотор от серьезной поломки.
Помимо этого, механическая конструкция способна поддерживать в системе комфортный напор. Главная характеристика такого устройства — номинальное рабочее давление, которое варьируется в пределах 1,5-6,0 бар.
Однако у электронных приборов имеются несколько существенных преимуществ:
- Постоянная регулировка давления насосной станции за счет подвинчивания пружин остается в прошлом. Настраивать и регулировать реле давления электронного типа после монтажа не нужно.
- Установить электронный прибор очень просто. С этим делом справится даже новичок без особых навыков и специального образования.
- Срок эксплуатации почти такой же, как у долговечной механической модели.
Стоимость электронного приспособления регуляции напора составляет 2 000-4 000 рублей. Если потратить немного времени на обход нескольких точек продаж, то можно приобрести качественной устройство по справедливой цене. Сильно экономить тоже не стоит, так как высока вероятность, что дешевый механизм быстро выйдет из строя.
Неисправности реле давления насосной станции. Основные неисправности и рекомендации по их устранению
Неисправности насосной станции, как уже говорилось выше, могут определяться целым рядом причин, точное выяснение которых позволит оперативно и максимально качественно выполнить ремонт, вернув оборудование в рабочее состояние. При диагностике, проводимой для выяснения причины поломки насосной станции, не требуется использовать сложное оборудование и обладать профессиональными навыками. Выявить большинство характерных неисправностей насосных станций можно как по внешним признакам, так и с помощью приборов, которыми изначально оснащены такое оборудование и система водоснабжения.
Среди неисправностей насосных станций можно выделить несколько наиболее характерных, которые каждый пользователь в состоянии выявить и устранить самостоятельно, воспользовавшись при ремонте советами специалистов.
Насос работает, но вода в систему не поступает
При запуске насосной станции может случиться так, что насос, которым она оснащена, работает, а жидкость в водопровод не поступает. Чтобы определить, почему насосная станция не качает воду, необходимо проанализировать отдельные параметры и условия работы элементов, входящих в оснащение оборудования.
- Сначала надо оценить техническое состояние и корректность работы обратного клапана, который расположен на всасывающей трубе во внутренней части колодца или скважины. Очень часто не качает насосная станция именно из-за того, что этот клапан засорен песком и грязью: не открываясь, он просто не дает воде из скважины поступать к насосу.
- Следует проверить, есть ли вода в той части напорного трубопровода, которая расположена между насосом и скважиной. Если жидкость там отсутствует, то, соответственно, устройству нечего качать. Часто такая ситуация возникает при отключении электричества и остановке работы насосной станции. Чтобы насосная станция снова начала работать в штатном режиме, достаточно заполнить эту часть трубопровода водой, для чего в нем предусмотрено специальное отверстие.
- Необходимо проверить (при разобранном насосе), насколько велика выработка между внутренними стенками его корпуса и крыльчаткой. Наиболее интенсивно такая выработка формируется в тех случаях, когда перекачивается вода, содержащая в своем составе большое количество нерастворимых примесей (своего рода абразива). Если выявлена именно эта причина отсутствия воды в системе водоснабжения при работающей насосной станции, то необходим ремонт насоса, заключающийся в замене крыльчатки и корпуса устройства, либо его полная замена. В том случае, если вы найдете комплектующие, подходящие для модели вашего оборудования, возможен ремонт водяного насоса своими руками.
- Надо также определить, есть ли вода (и на какой глубине, если есть) в самой скважине или колодце. Если вода в источнике водоснабжения есть, то проблема решается просто: достаточно опустить подающий шланг или трубу на более глубокий уровень закачки. При этом необходимо соблюдать инструкцию по эксплуатации насосного оборудования, чтобы впоследствии избежать его ремонта.
Реле давления насосной станции инструкция. Реле давления воды: регулировка и установка своими руками
Отрегулированное реле давления воды, за счёт насоса и гидроакамулятора сможет создать постоянный напор 1,5-3 атмосферы. Для того, чтобы реле работала нормально, его нужно настроить. Для самостоятельной отладки постоянного напора в системе водопровода, понадобиться изучить схему регулирования датчиков.
Назначение и устройство реле давления
Важно: устанавливать реле давления нет смысла, если в системе отсутствует гидроаккумулятора или насос. Так же при установке необходимо знать, что реле ставят за насосом и перед накопительным гидроаккумулятором. Иногда оно устанавливается на сам насос, в том числе и на погружаемый.

Устройство реле давления
Предлагаю рассмотреть предназначение элементов, метод работы системы. Гидроаккумулятором называется емкость, поровну разделяющаяся специальной перегородкой. Одна половина накачана воздушной средой, вторая — водяной.
Их пропорции 1/1. Увеличение объема воздуха повышает давление. Все зависит от принципа их работы. Повышая функциональность домашнего водопровода — давление рассчитывается 1,4-2,8 атм.

Регулировка реле позволяет выставить пределы ограничений. Когда оно понижается ниже нижнего ограничения — насос включается, когда повышается — он выключается. Как результат, напор остается в указанных пределах.
Сюда включены детали с электрическими и гидравлическими составляющими.
Рассмотрим, как работает данное реле:
- В первую составляющую входит набор компонентов, запускающих и отключающих насосное оборудование.
- Гидравлическая — имеет специальную перегородку, оказывающую давление на твердую перегородку, а также две пружины различного размера.
- В результате этого включается и выключается качающее оборудование.
В итоге взаимодействия этого механизма давление не выходит за заданные ограничения, чем повышается комфорт проживания в доме.
Разновидности

Существует два вида реле для водяного насоса: механические и электронные приборы. Разберем их особенности:
- В основном используются механические приборы, они более надежные, отличаются меньшей стоимостью. Механическое — расположено в прочном корпусе, где находятся следующие детали: поршень, эластичная перегородка, платформа из металла, контактный узел.
Под защитной крышкой корпуса располагаются две пружины разного размера. При срабатывании мембраны — она толкает поршень, который оказывает воздействие на пружины, в результате чего включается или выключается насос.
- Электронные приборы являются более точными. Они имеют датчик, который отключает насос при отсутствии воды. У таких изделий более высокая стоимость, они устанавливаются на заказ. Использование такой аппаратуры требует современная сантехника, обладающая большим функционалом.
Наиболее распространенным вариантом являются электромеханические модели датчиков, которые являются удобными в применении. Отличаются надежностью, чем оберегают систему водопровода от непредвиденных изменений напора.
Подключение реле давления воды

Пошаговая установка реле давления в систему водопровода
Одновременно присоединяется к электроснабжению и водопотреблению, предназначается на постоянное подключение. Перед тем, как начать подключать реле давления — разберитесь в деталях.
Электрическая часть
Отдельная электропроводка желательна — дает больше шансов повысить срок эксплуатации. Понадобится одножильный медный кабель сечением 2,5 квадратных мм. Рекомендуется устанавливать в комплексе автомат и УЗО. Основные характеристики выбираются по потребляемому насосом току, ведь само реле много электроэнергии не требует.
Важно предусмотреть подключение заземления, потому как прибор устанавливается на трубу с водой, может нести потенциальную опасность.
Устройство реле давления для насосной станции оборудовано:
- разъемами фазы и нуля от источника питания;
- такими же контактами от качающей станции;
- заземление соединяется с такой же разводкой от источника питания и станцией задающей напор.
Все провода прочно фиксируются согласно требованиям стандартного подключения. Спустя час, контакты следует проверить и подтянуть при
необходимости.
Реле давления насосной станции не включается. Ремонт насосной станции своими руками
Насосные станции — отличный способ обеспечить автономное водоснабжение. Они довольно быстро вошли в наше бытие и хорошо удерживают свои позиции. Бытовая насосная станция обеспечивает
автоматическое поддержание необходимого давления в системе водоснабжения путем самостоятельного включения и отключения по мере расхода воды. Но неисправности этих станций случаются довольно часто. Часть неисправностей связанна по природе среды — вода и электричество — быстрая коррозия металлических деталей. Этой болезни подвержены и погружные насосы, электро-бойлеры и другая техника. Если детали станции повреждены коррозией, то их надо только менять и по возможности устранить причину, например проверить заземление насосной станции. Рассмотрим типовые неисправности и методы их устранения
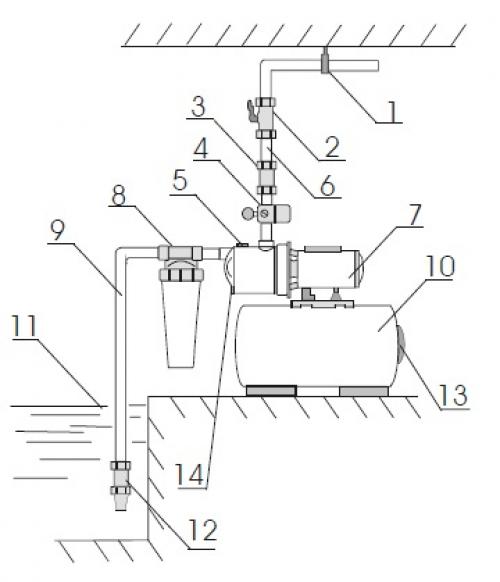
В начале рассмотрим устройство и принцип действия бытовой насосной станции.

Условные обозначения на рис. 1-опора напорной магистрали, 2-кран, 3-обратный клапан, 4-реле давления, 5-отверстие для залива воды (у Silverjet отсутствует), 6-напорная магистраль, 7-насос, 8- магистральный фильтр, 9-всасывающая магистраль, 10-гидроаккумулирующий бак, 11-вода, 12- обратный клапан с сеточкой, 13-крышка, закрывающая ниппель, 14-отверстие для слива воды.
Поверхностный центробежный электронасос состоит из однофазного асинхронного двигателя и насосной части. Электродвигатель состоит из оребренного корпуса, статора, ротора, конденсаторной коробки и закрытого защитным кожухом вентилятора. Для защиты двигателя от перегрева в обмотку его статора встроено тепловое реле. Насосная часть состоит из корпуса, рабочего колеса и встроенного эжектора. Корпус насосной части, в
зависимости от модели насосной станции выполнен из чугуна, стекло-полипропилена или нержавеющей стали. Гидроаккумулятор состоит из стального резервуара и сменной мембраны из пищевого этилен-пропиленового
каучука. Гидроаккумулятор имеет ниппель для закачки в него воздуха под избыточным давлением. Манометр служит для визуального контроля давления в системе водоснабжения, а реле давления определяет верхний и нижний уровень давления, при достижении которых отключается и включается насос.
Соединение насосной станции с сетью питания осуществляется посредством кабеля со штепсельной вилкой, имеющей заземляющий контакт, и розетки с заземляющим контактом. После установки и включения насосной станции вода заполняет гидроаккумулятор и водопроводную систему. При достижении давления воды в системе верхнего предела настройки реле давления, электронасос отключается. При открытии водоразборного крана, в первый момент времени вода расходуется из гидроаккумулятора. По мере расхода воды давление в системе падает до нижнего предела настройки реле давления, после чего вновь включается электронасос. Вода поступает к потребителю и одновременно заполняет гидроаккумулятор. При достижении давления воды верхнего предела реле давления, электронасос снова отключится. Циклы включения и выключения насоса повторяются до тех пор, пока осуществляется разбор воды из системы.
Для корректной работы насосной станции необходимо на всасывающей магистрали использовать обратный клапан с сетчатым фильтром грубой очистки воды.
Как разобрать реле давления насосной станции. Как разобрать и почистить реле давления РДМ-5
Казалось бы, что может быть проще в бытовой насосной станции, чем реле давления? Однако случается, что и оно достаточно быстро выходит из строя: насос перестает отключаться при достижении максимального установленного давления выключения или, например, реле давления не включает насос до тех пор, пока из гидрофора не вытечет вся вода. Что же делать? Нужно ли менять реле давления, или можно наладить старое?
В ряде случаев со временем могут сбиться настройки реле, и достаточно лишь отрегулировать пружины должным образом. Если опыта в этом нет, лучше ничего не крутить, а обратиться в сервис к специалистам.
Процедура ремонта реле давления, как правило, сводится к его очистке. Но как почистить реле насоса и нужно ли для этого его отсоединять, или можно выполнить всю процедуру, просто сняв крышку? Для того, чтобы ответить на эти вопросы, следует знать устройство и иметь представление о принципе работы реле давления.
Вообще реле давления насосной станции может несколько лет работать без каких-либо сбоев, тем не менее из-за некачественной воды, повышенной влажности и перебоев напряжения поломки все же случаются, и если их не устранить вовремя, то можно поплатиться двигателем насоса или, если повезет, обойтись лишь заменой лопнувшей мембраны гидрофора.
В случае с содержащей много железа и жесткой водой происходит постепенное «забивание» прохода рабочей камеры, диаметр которого около 5 мм.

Время от времени нужно разбирать реле давления и чистить рабочую камеру
Рано или поздно это приводит к тому, что реле давления перестает включаться или же совсем перестанет выключаться, в результате чего насосная станция может работать без отключений. Для того, чтобы исправить ситуацию, следует прочистить засорившийся проход или полностью саму камеру реле давления в случае сильного загрязнения.
Чтобы приступить к выполнению данных процедур, нужно обязательно отсоединить реле от электрической сети и, открыв кран, сбросить излишнее давление в системе. В нашем случае мы имеем дело с реле РДМ-5. Вскрываем крышку реле, выкрутив отверткой фиксирующую крышку пробку.
Перед тем как снять реле давления, необходимо отсоединить от него кабели и открутить накидную гайку ключом «на 17».

Засорившийся проход реле давления легко чистится любым не острым предметом, дабы не нанести вред резиновой мембране. Лучше сразу выкрутить все 4 винта на обратной стороне реле давления, снять фланец, мембрану, металлическую пластинку с двумя ушками и тщательно почистить и промыть их и рабочую камеру.




В нашем случае эта вот пластинка своими ушками сильно приподнимала пластину, на которой крепятся две регулировочные пружины. Почему так могло произойти? Для меня остается загадкой. Если у вас есть какие-то предположения на этот счет, пишете в комментариях, обсудим. Вот как это выглядело до снятия реле РДМ-5.

Видно, что под пружинами одна сторона пластины сильно поднята вверх, и никакими усилиями выровнять ее вручную оказалось невозможным. До тех пор, пока не была вскрыта камера с мембраной реле давления.

Теперь пластина вернулась в свое первоначальное положение, что видно на фото ниже.

На фото четко видна еще одна третья пружина, похожая на булавку, которая одной стороной крепится защелками на пластмассовом основании реле, а другой — к той самой пластине. Про нее мало кто говорит, но из-за износа пластмассовых защелок также могут возникнуть проблемы в работе реле давления по причине самопроизвольного смещения пределов включения-выключения.
Чистка реле давления РДМ-5 оказалась выполнена в считанные минуты. Осталось только собрать реле в обратном порядке, уплотнив перед монтажом резьбу специальным герметиком или фум-лентой.



Встречается и другая причина нестабильной работы реле давления — повышенная влажность в месте установки насоса с автоматикой, что является причиной подгорания и окисления контактов реле. При этом рале давления включается с некоторой задержкой или при легком постукивании корпуса реле рукой. Чтобы убедиться, что причина, по которой не включается реле давления насосной станции, кроется именно в этом, не обязательно полностью разбирать реле, достаточно лишь снять крышку. Увидели белый налет или капельки жидкости на металлических деталях — велика вероятность подгорания контактов.
Если после чистки реле давления станция все равно продолжает работать нестабильно, качает рывками и наблюдаются резкие скачки давления, то следует проверить обратный клапан, а также давление воздуха в гидрофоре, которое должно быть ниже настроенного давления включения РДМ-5 примерно на 0,2-0,3 бара. При меньшем давлении в гидробаке его нужно подкачать автомобильным насосом. Если при нажатии из ниппеля потечет вода, значит нужно менять мембрану гидроаккумулятора.
