Гриндер чертежи с размерами. Чертежи гриндера, требования и варианты его изготовления
- Гриндер чертежи с размерами. Чертежи гриндера, требования и варианты его изготовления
- Самый простой гриндер своими руками. Самодельный станок из дрели
- Гриндер гч-12 чертеж. Гриндер «от Чапая» - краткий обзор
- Чертеж гриндера под 610 ленту. Принципиальная схема конструкции гриндера и принцип его работы
- Чертежи гриндера от рустама. Схема и принцип работы
Гриндер чертежи с размерами. Чертежи гриндера, требования и варианты его изготовления
5 мин.
Общие вопросы
При изготовлении мебели, ремонтных или сварочных работах зачастую не обойтись без ленточной шлифовальной машинки — гриндера, ручного или стационарного. Приобрести это оборудование в магазине можно, но для человека, который занимается любимыми делами непрофессионально, цена на такое оборудование неоправданно высока. Поэтому многие предпочитают искать готовые чертежи гриндера, чтобы затем изготовить полезную вещь самостоятельно. Конструкции эти отличает большое разнообразие — как используемых материалов, так и размеров ленточно-шлифовального станка. Есть варианты совсем простые, и более сложные, требующие профессиональной помощи.
«Обязанности» и особенности гриндера

Этот станок универсален. Гриндером снимают ржавчину, удаляют заусенцы либо краску, зачищают сварочные швы, избавляются от острых кромок. Изменяемый угол заточки делает этот инструмент незаменимым, когда шлифовки требует деталь, имеющая крайне «заковыристую» форму. Работает гриндер с любым материалом: деревом, металлом, пластиком, стеклом.
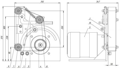
Перед тем как решить вопрос о целесообразности самостоятельной сборки, не лишним будет близкое знакомство со станком: необходимо посмотреть чертежи гриндера, понять принцип его работы. Ленточно-шлифовальная конструкция состоит из двигателя (3), прямого (ведущего) и натяжных роликов (7,8), на которых находится лента (10) требующейся зернистости. Остальные элементы:

- станина, имеющая устойчивое основание (1);
- стойка (2);
- шкив (4);
- поворотный узел (5);
- пружина (6);
- поворотная площадка-стол (9).
Обычная конструкция имеет столик с зажимами для крепежа к стационарной раме либо верстаку. В одних моделях предусматривается его поворот вдоль одной оси на 90°, в других перпендикулярный. Станина оснащается приводным мотором либо ножным приводом.
Хитрости сборки гриндера
Конструкция должна быть надежной, поэтому существуют правила, касающиеся элементов гриндера.
Поворотная площадка
Она крайне важна для точной обработки сложных деталей. Дюралюминиевый лист — материал, наиболее подходящий для этого элемента. К нему крепят кронштейн, позволяющий столику вращаться в горизонтальной плоскости. Минимальная толщина — 15 мм, толще — лучше, если выбрать меньшую величину, площадка нагрузки не выдержит.

Самый простой гриндер своими руками. Самодельный станок из дрели
Гриндер, изготовленный своими руками, в простом варианте представляет собой барабанные валы, приводимые в движение валом двигателя посредством всё той же шлифовальной ленты. Такой станок пригоден для работ по дереву, обладает относительно маленькими размерами, простой в сборке.
Действующий механизм – дрель с патроном, снимать который не обязательно. Ему по силам заточка небольших инструментов – от ножниц до свёрл. Но, к примеру, заточить дисковый нож для разрезающего вального станка возможно лишь на более мощном устройстве, потребляющем от киловатта.

Чтобы изготовить «дрельный» станок, сделайте следующее.
- Подготовьте раму станка. Она собирается из деревянных брусков. Один из брусков содержит полукруглое углубление, позволяющее зафиксировать корпус дрели. Два других применяются для ручки. С одной стороны крепления для ручки ставится переключатель скорости мотора. Он присоединяется к внутренним проводам, идущим от розетки и от двигателя.
- Закрепите дрель с помощью сквозной шпильки, используя гайки, прессующие и пружинящие шайбы. Передняя часть корпуса прижимается при помощи хомута и саморезов.
- Чтобы закрыть двигатель и редуктор дрели от пыли и частиц краски, разлетающихся в процессе обработки заготовок, используйте пластиковый кожух. Его изготавливают из профильного материала ПВХ или из пластиковой бутылки.
- Чтобы изготовить натяжитель ленты, используйте алюминиевые заготовки с отверстиями для монтажа ролика.
- Ролик собирается из подшипников для мотоцикла, болта и колец подходящего диаметра.
- Наденьте подшипники на ролик. При несовпадении диаметров примените изоленту.
- Ведущим валом станка является патрон дрели. Для удержания ленты на валу последний оклеивают резиной, к примеру, от пробитой камеры автомобиля или мотоцикла.
- Подставкой для дрели служит фрагмент доски с углублением по форме рамы. Зафиксируйте эту подложку для дрели, используя саморезы.
Ленточный гриндер готов к работе, проверьте его в действии.
Гриндер гч-12 чертеж. Гриндер «от Чапая» - краткий обзор
Андрей Чапай разработал собственный вариант гриндера. Модель настолько полюбилась мастерам, что скоро стала именем нарицательным. Сотни и тысячи образцов шлифовальных машин «от Chapay» нашли своё почетное место в мастерских в разных уголках России и стран СНГ. Главным преимуществом разработки считается его универсальность. Идея такая – создать станок, который может служить для обработки разных материалов под разным углом. Для этого мастер разработал особое крепление поворотного стола.
Гриндер «от Чапая»− универсальный станок для обработки изделий сложной формы из металла, пластика и дерева
Можно купить изделие, что называется, «под ключ», а можно выбрать скромный набор инструментов и оборудования: выбрать конкретный мотор, набор сопутствующих деталей или заказать собственную разработку.
К сведению! Самые распространенные модели гриндеров: «ГЧ-10», «ГЧ-12», «ГЧ-16» (профессиональная серия), а также новые мобильные версии гриндера 610 серии «ГЧ610-63» и «ГЧ610-71» − изготавливаются с цинковым покрытием.
Общие моменты, характерные для всех станков:
важно, что все поверхности гриндера отшлифованы, что упрощает работу с инструментом и защищает обрабатываемые детали от царапин, даёт дополнительную плавность хода; точное, выверенное расположение роликов помогает исключить перекосы во время хода ленты; существует разновидность моделей, которые могут идти без покраски и защитного покрытия; поверхности эффективно работают на скольжении; не забывайте, что для того, чтобы исключить коррозию изделия, достаточно периодически протирать его специальным маслом или силиконовым спреем; универсальность работы достигается из-за особой конструкций прижимной площадки. Особенность прижимной площадки в том, что она может поворачиваться строго вертикально и строго горизонтально, обеспечивая при этом разный прижим
Особенность прижимной площадки в том, что она может поворачиваться строго вертикально и строго горизонтально, обеспечивая при этом разный прижим
В качестве дополнительных элементов в комплектацию входят: диск для установки вместо ведущего валика. Его рекомендуют использовать при обработке по металлу, в случае, если необходимо счищать серьёзные объёмы лакокрасочного материала или налёта от ржавчины.
Один из самых популярных моделей гриндера – №16. Он изготовлена на усиленной поворотной основе, станина снабжена двумя стойками. Основание для станины 2 металлических листа, толщиной 12 мм. Металл обеспечивает необходимость жёсткость конструкции. Специальные крепежи позволяют быстро и без усилий разворачивать гриндер как в вертикальное, так и в горизонтальное положение.
В конструкции используется увеличенная шлифовальная лента – 1600-1800×50 мм и достаточно мощный двигатель – 2,2 кВт. Станок обладает более высокой производительностью и идеально подходит для непрерывных работ на крупных промышленных производствах. Цена такого изделия на данный момент варьируется от 55 000 до 60 000 рублей.
Какой выбрать двигатель для гриндера.
В сети интернет встречается информация о гриндерах сделанных с применением электродвигателей от старых стиральных машин . Такие электродвигатели маломощные и мало оборотистые. Чаще всего это 180 ватт и1400 оборотовмин. Таким гриндерам, как правило не хватает скорости движения ленты и мощности двигателя, поэтому на них можно выполнять нетяжелые работы, например, заточка ножей или обработка небольших деревяшек. На что-то более серьезное они не рассчитаны.
Ниже приведена формула расчета мощности двигателя для гриндера.
Формула расчета мощности двигателя:
P(вт)=(D*N)570,
где D-диаметр приводного колеса в мм, N-обороты двигателя в минуту.
Если применяется двигатель трёхфазный, но включенный в однофазной сети 220В, то его расчетная мощность при подключении треугольником с рабочим конденсатором примерно в 1.5…1.6 раз ниже от номинала. Это необходимо учитывать. Например, по расчету необходим электродвигатель мощностью 800 ватт, и двигатель будет использоваться трёхфазный, но в сети 220В. Тогда необходимая мощность такого двигателя будет равна: 800*1.6=1280ватт.
Оптимальный выбор — это однофазный двигатель с оборотами не менее 2800-3000 и мощностью не менее 800 ватт. С таким электродвигателем можно будет обрабатывать на гриндере каленые стали, а не только затачивать “карандаши.”
Если в изготовлении гриндера будет применяться двигатель открытого типа, как на стиральных машинах, то следует задуматься о его защите от абразива и металлической пыли. Такую защиту можно сделать из пластиковой бутылки емкость 5 литров или какой-либо другой пластиковой тары.
Чертеж гриндера под 610 ленту. Принципиальная схема конструкции гриндера и принцип его работы
Чтобы собрать ленточный гриндер своими руками, необходимо хотя бы в общих чертах представлять его конструкцию. На самом деле в ней ничего сложного нет. Это обычное приводное устройство с несколькими роликами и шлифовальной лентой. Его можно сделать как из металла, так и из фанеры, или даже пластика. На рисунке изображён чертёж гриндера с размерами.
Устройство гриндера в чертеже
- Основание.
- Стойка.
- Электродвигатель АИР 80А2.
- Шкив.
- Поворотный узел натяжного ролика.
- Пружина растяжения.
- Прямой ролик.
- Натяжной ролик.
- Металлический стол.
- Шлифовальная лента.
Обычно в конструкцию шлифовальной машины входит столик с зажимными элементами, который чаще всего устанавливается на верстак или стационарную раму. Он может поворачиваться вдоль своей оси, а в некоторых моделях – перпендикулярно. В станине помещается либо ножной привод устройства, либо приводной мотор, который закрепляется непосредственно к гриндеру. Чаще всего в ход идёт хлам с «живым» мотором: старая дрель, болгарка, в сети множество примеров, где гриндер собран своими руками с использованием двигателя от стиральной машины.
Вопрос в том, были ли действительно «живые» моторы у гриндера, пока остаётся открытым. Заметим, что при написании статьи, даже в опытных целых, ни одной овцы не пострадало!
Интересный факт! Чем длиннее шлифовальная лента, тем мощнее двигатель для станка придётся искать.
Принцип работы гриндера несложен. С помощью мотора в действие приводится группа роликов, один из которых ведущий, остальные − ведомые. Под действием тяги начинает двигаться шлифовальная лента. Конструкция позволяет регулировать расположение ведомых роликов, что облегчает работу по шлифовке различных поверхностей.
Гриндер, особенно во время работы по дереву, сильно пылит, многие мастера приспосабливают для очищения поверхности во время работы специальные пылесосы или обдувочные механизмы
Со временем лента может растягиваться, для того, чтобы натяжение оставалось точным, предусмотрены разные системы натяжения: это может быть пружина, специальный фиксатор или самый обычный мебельный болт.
Андрей Феофанов
Специалист по подбору инструмента «ВсеИнструменты.ру»
Задать вопрос
«Если вы не любите носить защитные очки во время работы на станке, можно сделать специальное откидное стекло из акрила. Для примера можно посмотреть установленные защитные стёкла на промышленных станках, где в качестве рабочего элемента стоит круглый наждачный камень».
Прежде чем определиться с размерами ленты и шириной роликов, прикиньте для себя – какие поверхности вы планируете обрабатывать, их габариты и объёмы работ.
Абразивная лента для гриндера − важнейшая деталь любой шлифовальной машины
Начинающему мастеру не лишним будет знать, что шлифовальные ленты различаются по своей длине, ширине и степени жёсткости (зернистости). Чаще всего в станках подобного типа используются следующие размеры лент: 610, 915, 1230, 1600, 1830 мм − по длине, по ширине всего два варианта −50 и 100 мм, однако, опытные мастера могут вырезать ленту любой ширины.
Важные правила выбора ленты для гриндера:
- Лента обязательно должна быть на эластичной, тканевой основе, иначе она может не выдержать нагрузок и больно ударит вас по пузу и рукам.
- Выдерживать предельные угловые скорости − не менее 1500 об/мин.
- Обладать большой абразивной стойкостью.
- Предельное относительное натяжение на разрыв – не менее 15%.
Чертежи гриндера от рустама. Схема и принцип работы
Конструктивно любой ленточно-шлифовальный станок состоит из следующих элементов:
- электрический двигатель;
- шкив с закреплённым прямым роликом;
- натяжные ролики;
- поворотный прижимной механизм;
- абразивная лента;
- основание.
Для расширения функциональных возможностей агрегата отдельные конструкции имеют дополнительные элементы, позволяющие проводить работы с сильно загрязнёнными или подвергшимися глубокой коррозии поверхностями. В этом случае на ведущий вал двигателя устанавливается абразивный диск.
Самодельный гриндер собирается по аналогичной схеме, как и профессиональный.
Основным принципом работы такой шлифовальной машины является приведение в движение абразивной ленты с помощью системы роликов.
Она состоит из главного ролика, который является ведущим. Он закрепляется на валу двигателя. Остальные ролики являются второстепенными или ведомыми. Они имеют механизм регулировки, который позволяет изменять натяжение ленты. Для изменения угла наклона гриндер имеет механизм его регулировки.
Двигатель для гриндера выбирают исходя из перечня работ, которые планируется выполнять, производительности и степени нагрузки. На промышленную версию устанавливают двигатель, рассчитанный в соответствии с заданными параметрами. Он позволяет получить требуемую скорость ленты, а также бесперебойность работы длительное время. Величину этого параметра определяют обороты вала двигателя и размер шкива. Наиболее оптимальной скоростью движения ленты, считается скорость, около 30 м/сек. Для упрощения получения необходимых параметров разработана сводная таблица. С ее помощью можно найти нужную скорость движения ленты в зависимости от числа оборотов выбранного двигателя. Её можно точно рассчитать, используя известные формулы и данные таблицы.
В современной литературе и интернет порталах можно найти чертежи с размерами различных конструкций гриндеров. При выборе схемы и конструкции будущего устройства необходимо оценить свои возможности по приобретению или изготовлению каждого элемента такого агрегата. Например, какой электродвигатель планируется использовать. Определить необходимые габариты всего изделия. Какой тип ленты планируется применять в своей работе.


