Правила регулировки реле давления воды для насоса. Описание устройства
- Правила регулировки реле давления воды для насоса. Описание устройства
- Регулировка давления воды. Регулировка устройства
- Настройка реле давления с одной пружиной. Выводы и полезное видео по теме
- Настройка реле давления насоса. Настройка и регулировка давления
- Регулировка реле давления воды. Какие характеристики следует менять?
- Реле давления воды неисправности. В начале рассмотрим устройство и принцип действия бытовой насосной станции.
- Заводские настройки реле давления. Определение и назначение реле давления насосной станции
- Электронное реле давления воды для насоса. Когда выбирать механическое, а когда РДЭ?
Правила регулировки реле давления воды для насоса. Описание устройства
Устройство практически всех разновидностей реле давления, которыми укомплектованы насосные станции, примерно одинаково. На металлическом основании зафиксированы рабочие элементы насоса:
- Мембрана,
- Поршень,
- Металлическая платформа.
- Электрические контакты.
Также имеется большая и маленькая пружина, все это размещено в пластиковом корпусе.
При подключении реле давления воды процесс протекает по следующему принципу: оказываемое давление заставляет мембрану толкать поршень, который поднимает платформу. Она, в свою очередь, оказывает давление на большую пружину и сжимает ее. Сопротивление большой пружины оказываемому давлению ограничивает движение поршня.

Между большой и малой регулировочной пружиной есть небольшое расстояние, однако его вполне хватает для регулировки работы комплекса приборов. Платформа, на которую воздействует мембрана под давлением, поднимается до края малой пружины.
В результате увеличения давления на платформу меняется ее положение. Это приводит к переключению контактов и изменению режима работы, следовательно, он выключается. Контакты переключаются с помощью специального шарнира с пружинкой. После прохождения платформой уровня расположения шарнира соответственно меняется положение электрических контактов и размыкается цепь электропитания.
В результате отключения насоса прекращается поступление воды. При расходе воды из гидроаккумулятора давление на мембрану постепенно снижается, и платформа начинает опускаться. Опустившись ниже уровня расположения пружинного шарнира электрических контактов, она вновь заставляет контакты подниматься и, соответственно, замыкать цепь. Не помешает знать, какой лучше регулятор давления воды , чтобы сделать правильный выбор.

Насос начинает работать, закачивает воду в гидробак, и цикл повторяется в автоматическом режиме.
Большой и маленькой пружине в механизме отводится своя функция. Большая пружина задает показатель давления, при котором требуется включение насоса, а маленькая пружина определяет разницу между допустимым и необходимым значением давления. Этот показатель очень важен при регулировке реле давления воды для насоса.
Регулировка давления воды. Регулировка устройства
Многие хозяева задаются вопросом, как отрегулировать регулятор давления воды в квартире. Эту задачу можно легко выполнить своими руками. Большинство устройств выпускаются с предустановленной настройкой. Согласно этому давление в них составляет 3 бар. Но, при необходимости можно снизить или увеличить этот параметр самостоятельно.
Редуктор давления воды в разобранном виде
Для выполнения настройки может понадобиться гаечный ключ или широкая отвертка. Выбор инструмента зависит от модели редуктора. Конечно, в современных устройствах настройка выполняется вручную без использования каких-либо дополнительных инструментов.
Прежде всего, нужно убедиться в том, что редуктор давления воды в водопроводе надежно установлен. После проведения установки устройства открывают подачу воды. На этом этапе нужно проверить систему на наличие протечек. Чтобы предотвратить возникновение таких проблем, при монтаже редуктора стоит использовать уплотнительный материал.
Регулировка редуктора давления воды в квартире осуществляется при закрытых кранах. В нижней части устройства есть установочная головка, которая и отвечает за регулировку напора жидкости в трубопроводе. Если давление нужно увеличить, то головка вращается по часовой стрелке. В ином случае вращающие движения выполняется против часовой стрелки.
Одно полное вращение головки позволяет изменить давление на 0,5 бар. Это будет заметно по движению стрелки. Таким образом, выполняется регулировка регулятора давления воды в квартире. Работу можно легко выполнить своими руками.
Регулировка редуктора давления Валтек
Винт регулирови находится под крышкой 9 . Вращая винт 8 добавляете давление в редукторе
Редуктор работает следующим образом: рабочая среда, попадая во входную камеру, с одинаковой силой воздействует на золотник и на нижнюю поверхность поршня. Сила упругости пружины поддерживает редуктор в открытом положении до тех пор, пока давление среды в выходной камере, воздействующее на верхнюю «тарелку» поршня не сравняется с настроечным. В этот момент золотник начинает перекрывать отверстие между камерами, увеличивая местное сопротивление и снижая выходное давление до заданного уровня. С помощью латунной настроечной гайки (8) редуктор может быть настроен на требуемое выходное давление, отличное от заводской настройки (2 бара).
Примечание : часто причиной слабого давления может служить засор механизма.
Настройка реле давления с одной пружиной. Выводы и полезное видео по теме
Как правильно настраивать реле давления:
Простыми словами о реле давления для гидроаккумулирующих баков:
Как в насосной станции отрегулировать реле давления:
Без исправно работающего и правильно настроенного реле давления гидроаккумулятор превращается в ненужную железку. Регулировка рассматриваемого прибора, на первый взгляд, выглядит предельно простой – всего две пружины, которые надо подтянуть/ослабить. Однако настройка данного устройства имеет свои нюансы. Если при регулировке допустить ошибки, то вместо пользы гидравлический аккумулятор может принести лишь проблемы.
У вас есть личный опыт настройки реле давления или возникли вопросы, пишите в блоке с комментариями ниже. Наши эксперты обязательно помогут вам разобраться в выборе и настройке этого прибора для максимального повышения эффективности функционирования вашей системы водоснабжения либо отопления.
Настройка реле давления насоса. Настройка и регулировка давления
Для самостоятельного выполнения настройки рассматриваемого реле особыми познаниями в сантехническом деле обладать не требуется. Это разбираться, как обшить дом сайдингом либо по правилам смонтировать SIP панели , придется достаточно долго. Там нюансов работ гораздо больше. С регулировкой реле давления насосной станции все сильно проще. Надо лишь последовательно произвести пять действий.
Для настройки реле водяного давления необходимо:
Обесточить насос, а потом слить воду из трубопровода ХВС.
Включить гидронасос и записать показания манометра, когда выключится реле (это значение нижнего порога, устанавливаемого большой пружиной).
Открыть самый дальний от насосной станции кран водопровода и отследить цифры на манометре, когда насос вновь включится (это верхний порог, регулируемый маленькой пружиной).
Если напор в открытом кране при пуске гидронасоса был слишком мал, то надо увеличить давление отключения, прикрутив на большой пружине гайку. При излишне сильном напоре ее следует наоборот немного ослабить.
С помощью малой пружины уставляется дельта между верхним и нижним порогами в пределах 1,5–2 атмосфер.

Замеряем показатели манометра и регулируем гайками реле
Для завершения регулировки реле давления вновь полностью спускается вода из системы, а затем станция включается в сеть. Если все настроено правильно, то напор в кранах должен быть удовлетворительным. Все предельно просто. Это выбор стройматериала для дома и планировка участка 15 соток прямоугольной формы займут много времени. Настройка реле давления производится буквально за полчаса.
Регулировка реле давления воды. Какие характеристики следует менять?
Простой блок управления имеет две изменяемые характеристики:
- Первая, давление запуска помпы (Р), это нижняя граница, при которой запускается помпа.
- Вторая, это дельта (ΔР) давления между точкой пуска и верхней отсечкой, при которой помпа останавливается.
Следует отметить особенность всех механических реле. Если перестроить нижнюю границу пуска, то верхняя граница тоже перестроится на такую же величину. Вот пример, при 1,5 атмосферах пуска и 3,0 остановки, повышая силу пуска помпы до 2,0 атм., повысится верхняя отсечка до 3,5 атм.
Однако, при перестройке дельты (ΔР), устанавливая давление отключения помпы, сила пуска помпы останется прежней.
Пример: при 1,5 атм. и 3,0 атм., ΔР равняется 1,5 атм. Уменьшив ΔР до 1,0 атм., верхняя отсечка станет 2,5 атм. Точка запуска останется прежней, 1,5 атм.
Зная эту особенность реле, при перестройке верхней отсечки помпы, достаточно регулировки ΔР , то есть выполнить 1 переделку.
А вот при перестройке нижней границы давления на пуск, поменяется верхняя отсечка остановки. Возможно, ее придется тоже откорректировать. То есть надо выполнить 2 настройки.
При изменении регулировок, следует знать, что отсечка помпы, должна быть ниже на 0,3 – 0,5 бара максимального уровня напора, который может создать помпа. Этот уровень напора обязательно написан в руководстве (инструкции) к насосу.
Например, при максимальном напоре в 55 метров, которого может достичь помпа, отсечка должна быть не выше 5,0 – 5,2 бара . Иначе помпа будет длительное время работать не выключаясь, пытаясь достигнуть максимального заданного уровня. Это приведет к ее преждевременному износу и повышенному расходу электроэнергии.
Величина ΔР влияет еще на один параметр – как часто насос будет включаться. Чем выше дельта, тем реже помпа будет запускаться, дольше прослужит.
Но слишком большую разницу устанавливать тоже не стоит, иначе помпа будет дольше качать, после прекращения разбора воды, пока не сможет поднять напор до заданного уровня. К тому же, пользоваться водой из крана, при высоком напоре, не удобно.
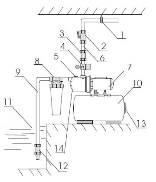
Реле давления воды неисправности. В начале рассмотрим устройство и принцип действия бытовой насосной станции.

Условные обозначения на рис. 1-опора напорной магистрали, 2-кран, 3-обратный клапан, 4-реле давления, 5-отверстие для залива воды (у Silverjet отсутствует), 6-напорная магистраль, 7-насос, 8- магистральный фильтр, 9-всасывающая магистраль, 10-гидроаккумулирующий бак, 11-вода, 12- обратный клапан с сеточкой, 13-крышка, закрывающая ниппель, 14-отверстие для слива воды.
Поверхностный центробежный электронасос состоит из однофазного асинхронного двигателя и насосной части. Электродвигатель состоит из оребренного корпуса, статора, ротора, конденсаторной коробки и закрытого защитным кожухом вентилятора. Для защиты двигателя от перегрева в обмотку его статора встроено тепловое реле. Насосная часть состоит из корпуса, рабочего колеса и встроенного эжектора. Корпус насосной части, в
зависимости от модели насосной станции выполнен из чугуна, стекло-полипропилена или нержавеющей стали. Гидроаккумулятор состоит из стального резервуара и сменной мембраны из пищевого этилен-пропиленового
каучука. Гидроаккумулятор имеет ниппель для закачки в него воздуха под избыточным давлением. Манометр служит для визуального контроля давления в системе водоснабжения, а реле давления определяет верхний и нижний уровень давления, при достижении которых отключается и включается насос.
Соединение насосной станции с сетью питания осуществляется посредством кабеля со штепсельной вилкой, имеющей заземляющий контакт, и розетки с заземляющим контактом. После установки и включения насосной станции вода заполняет гидроаккумулятор и водопроводную систему. При достижении давления воды в системе верхнего предела настройки реле давления, электронасос отключается. При открытии водоразборного крана, в первый момент времени вода расходуется из гидроаккумулятора. По мере расхода воды давление в системе падает до нижнего предела настройки реле давления, после чего вновь включается электронасос. Вода поступает к потребителю и одновременно заполняет гидроаккумулятор. При достижении давления воды верхнего предела реле давления, электронасос снова отключится. Циклы включения и выключения насоса повторяются до тех пор, пока осуществляется разбор воды из системы.
Для корректной работы насосной станции необходимо на всасывающей магистрали использовать обратный клапан с сетчатым фильтром грубой очистки воды.
Заводские настройки реле давления. Определение и назначение реле давления насосной станции
Реле или датчик давления выполняет две функции в работе насосного оборудования – при падении давления до нижнего порога электрическая цепь срабатывает и прибор подает сигнал на включение. При достижении верхнего порога цепь размыкается и выключает насосную станцию. При заводских настройках нижний порог устанавливается на значение от 1,5 до 1,8 бар. Верхний 3 – 3,5 бар. Эти показатели не рекомендуется изменять самостоятельно без веских причин.
Чувствительным органом реле является гибкая резиновая мембрана. Эта деталь при изменении давления изгибается то в одну, то в другую сторону, что приводит к размыканию и замыканию контактов.
Применение мембранного реле сделало работу насосного оборудования автоматизированной, не требующей постоянного вмешательства человека. Помимо этого, увеличился срок службы насосов и компрессоров, так как они перестали работать непрерывно. Перегрев – главный враг приборов, особенно тех, которые не охлаждаются искусственно. Если погружные насосы постоянно находятся в толще воды и за счет этого не перегреваются, то поверхностные насосные станции быстрее выходят из строя и некоторые детали приходится чаще менять.
Установка реле – это безопасная эксплуатация труб, особенно тех, которые сделаны из относительно мягкого материала – пластика, полипропилена. Датчик давления поддерживает его в допустимых пределах. При неконтролируемом повышении возможен разрыв труб. Более того, горячая жидкость, если такую необходимо прокачивать по трубам или отопительным системам, размягчает пластик, и он становится уязвимым к повреждению. Учитывая, что на данный момент большая часть водопроводных труб сделана из полимерных материалов, такие аварии могли бы происходить ежедневно.
Экономия электроэнергии при установке насосной станции с реле давления происходит автоматически. Если в доме никто не включает краны, стиральную машину, не срабатывает бачок унитаза, то насосное оборудование не включается. Сигнал поступает тогда, когда в системе падает давление и устройство начинает работу.
Специалисты, которые создавали насосные станции, утверждают, что срок службы прибора зависит не от длительности работы, а от количества циклов включения/выключения. Если имеется накопительный бак большого объема, возможно, станция включится всего один раз в сутки. Но устройства с накопителями не самый удобный способ запасать воду, поэтому было решено укомплектовать насос гидроаккумулятором, который имеет больше преимуществ. Реле можно настроить так, чтобы станция включалась реже или чаще.
Электронное реле давления воды для насоса. Когда выбирать механическое, а когда РДЭ?
Электромеханическое устройство устроено намного проще . Состоит из:
- корпуса,
- мембраны,
- двух регулируемых пружин,
- контактов.
При повышении давления мембрана воздействует на основную пружину. Пружина сжимается и размыкает прикрепленные к ней контакты. Двигатель насоса останавливается. Когда давление воды понижается до заданных значений, происходит обратный процесс.
Вторая пружина в конструкции – регулировочная, с ее помощью устанавливается разность давлений включения.
Для использования электромеханического устройства необходима дополнительная установка датчика сухого хода и манометра . Реле сухого хода предотвратит перегрев двигателя при отсутствии воды в месте водозабора. Манометр нужен для контроля давления и настроек.
Электронное реле давления – устройство многофункциональное. Регулируются не только значения давления, но также время задержки срабатывания. Это снижает количество нерациональных включений, предотвращает работу в условиях недопустимых нагрузок.
Настройки ЭРД:
- регулирование давления выключения насоса – от 0,8 до 9,9 бар;
- пауза между запусками – от 0 до 99 сек.;
- ограничение для режима сухого хода – от 0,0 до 1,5 бар;
- время проверки на наличие воды – от 1 мин до 12 час.;
- продолжительность проверки на разрыв – от 0 до 990 сек.;
- продолжительность проверки на утечку – от 0 до 99 мин.
регулирование давления включения насоса – от 0,5 до 6,0 бар;Как видно, настройки прибора предоставляют большие возможности для регулирования. Они подбираются на основании интенсивности водозабора, этажности строения и удаленности источника.
Электромеханическое реле давления, в силу простоты конструкции, стоит сравнительно недорого. Оно применяется там, где необходимо понизить общую стоимость системы. Хоть устройство не обладает расширенными возможностями, но цена иногда оказывается решающим фактором.
Электронное реле выбирают там, где требуются небольшие габариты, простота монтажа, точность настроек и безопасная эксплуатация. Безаварийная и оптимизированная система управления способствует увеличению срока службы насоса.